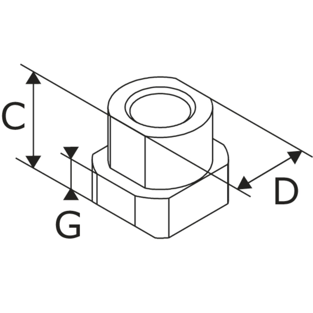
T-Nutenstein m. Zyl.-Schraube DIN 912-12.9, 29x11x25,5mm M20x40 (1x)

Online Preis
25,60 €
Preise exkl. MwSt. zzgl. Versandkosten

Lagerbestand
Nachlieferung
Nutensteine, mit zölliger Spitzverzahnung (Forkardt, Geiger+Haag, Hofmann, SMW, Schunk)
  • passend für Backen mit zölliger Spitzverzahnung
  • einschließlich Zylinderschrauben DIN 912-12.9
  • Preise pro Satz

Forkardt
2BLE 250/315/400/500; 2BLE-PS 300/315/400/500; KG 400/500; KL 300/400/500; KLNC 400/500; KP 400/500; KS 500/630; KSH 500; KSHF 560/630; KSL 630; KS-PS 400; KTG 400/500/630; KTGF 400/500/630; KTN 400/500/630; NH 400/500/630; NHF 400/500/630; QLC 400; QLK 400; UVE 400/500/630/800
Geiger + Haag
GHE 250/315
Hofmann
2LBN 250/315/400; KHC 500; LKL 500
SWW-Autoblock
HFK 400/500; HFKS 400/500; KDV 500; KDVG 500; KDS 630; KFV 400/500/630/800; KZF 250/315/400; KZF-ES 315/400
Schunk
HSL 400; ROTA NC 400/500; ROTA NC-D 400; ROTA NC-F 400/500; ROTA NC-O 400; TH 400/500; THF 400/500
Artikel-Nr./ATORN Nr.
4206010030 / 22640831
VPE
1
SARTORIUS Katalogseite

Technische Merkmale

Abbildung 1
H 11 mm
H 29 mm
Inhalt je Satz 1
N 25,5 mm
Nutensteinbreite 25,5 mm
Passend für Gewinde M20
Werkstoff ST
zyl. Schrauben DIN 912 M20 x 40